- Odběrná místa Břvany a Praha
- Doprava zdarma nad 5000 Kč
- Blog
- Bazény
- Technologie
-
Stavba
-
Bazénové tvarovky, trubky a hadice
-
Instalační materiál
- Bazénové trubky
- Bazénové hadice
- Trubkové svorky
- Lepidla a čističe
- Těsnící příslušenství
- Průtokoměry
-
Fitinky dle průměru
- Fitinky průměr 20 mm
- Fitinky průměr 25 mm
- Fitinky průměr 32 mm
- Fitinky průměr 40 mm
- Fitinky průměr 50 mm
- Fitinky průměr 63 mm
- Fitinky průměr 75 mm
- Fitinky průměr 90 mm
- Fitinky průměr 110 mm
- Fitinky průměr 125 mm
- Fitinky průměr 140 mm
- Fitinky průměr 160 mm
- Fitinky průměr 200 mm
- Fitinky průměr 225 mm
- Fitinky průměr 250 mm
- Fitinky průměr 315 mm
-
Instalační materiál
- Protiproudy, vodní atrakce
- Skimmery a dopouštění vody
- Trysky, Podlahové výpustě a Sání
- Přelivné rošty a žlaby
- Světla a reproduktory
- Žebříky a schodiště
- Bazénová dlažba
- Solární sprchy k bazénům
- Sprchové vaničky
- Skákací prkna a Můstky
- ND Stavební části
-
Bazénové tvarovky, trubky a hadice
-
Údržba
-
Zakrytí
-
Fólie
- Vířivky
- Volný čas
- Akce
- Montáž a servis
-
Zazimování bazénu
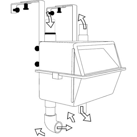
Skimmer závěsný
Skimmer závěsný je vhodný pro jakýkoli bazén, ale zejména pro již postavené. Tento skimmer je určen pro dodatečnou montáž.
Doprava zdarma při objednávce nad 5 000 Kč
Osobní vyzvednutí na našich odběrných místech Břvany a Praha
Akce na sezónní sortiment za výhodné ceny
Ověřený obchod 100% spokojených zákazníků - Heureka.cz
Skimmer závěsný
Tento závěsný skimmer je vhodný pro jakýkoli bazén, ale zejména pro již postavené. Především je určen pro dodatečnou montáž.
Je vybaven zpětným vtokem do bazénu o průměru 32 mm. Dále je zde možnost připojení čistících zařízení (vysavače) hadicí DN 32 mm.
Skimmer (hladinový sběrač nečistot) slouží k odvodu znečištěné bazénové vody do filtrace. Skimmer je plastová či nerezová nádoba zabudovaná ve stěně bazénu, nebo volně zavěšená na stěně (u nadzemních bazénů). Typ skimmeru se určí dle konstrukce bazénu.
Materiál ABS: nepodléhá změnám v důsledku vystavení chemickým ani atmosférickým vlivům.
Technické parametry
• Barva: Bílá
• Materiál - pohledová část: Plast
• Materiál těla: plast
• Připojení: 32 mm
• Hmotnost: 2.66 kg

Detaily produktu
- Kód
- vp-10031
- Záruka
- 2 roky
- MJ:
- Ks
- Barva:
- Bílá
- Připojení:
- 32 mm
- Materiál - pohledová část:
- Plast
- Materiál těla:
- plast
- MJ
- Ks
Zákaznická podpora
Jindřich Parýzek
Máte nějaký dotaz rádi vám jej zodpovíme. Zákaznická podpora je Vám k dispozici.
Vaše hodnocení nelze odeslat
Nahlásit komentář
Zpráva odeslána
Váš podnět nelze odeslat
Napište svůj názor
Zkontrolovat před odesláním
Vaši recenzi nelze odeslat
Skimmer závěsný je vhodný pro jakýkoli bazén, ale zejména pro již postavené. Tento skimmer je určen pro dodatečnou montáž.
Něco málo o nás a naší firmě
Jmenuji se Jindřich Parýzek a jsem majitelem tohoto elektronického obchodu a zároveň odborné bazénové firmy. Poradím a doporučím Vám sortiment, který opravdu „funguje“ a který mám ověřený svou více jak 20 letou praxí.
Zobrazit bazény
Naše služby
Jelikož moc dobře víme, že každý majitel bazénu v případě problému potřebuje rychlý servis, snažíme se urgentně řešit Vaše potíže, které řešíme non-stop.
Nabízíme:
- celoroční pravidelnou péči o bazén a příslušenství,
- kompletní servisní služby v oblasti bazénů a technologií,
- rychlé řešení jakéhokoliv problému,
- poradenství v údržbě bazénové vody, rychlý výjezd technika,
- výměny bazénových fólií, hledání místa úniku vody, lepení,
- servis filtrací, výměnu písku, údržby čerpadel filtrací,
- výměny hadicových rozvodů za profesionální trubkové rozvody,
- zazimování a odzimování bazénů.
Blog
Výhody plavání od A do Z aneb Proč je plavání tak skvělé
Pokud hledáte sport, který rozhýbe vaše děti, nebo přemýšlíte nad tím, proč je právě plavání považováno za jednu z nejpřínosnějších aktivit pro mladé lidi, následující řádky jsou určené právě vám.
Jak poznat, že bazén netěsní? Pomůže třeba kbelíkový test
Koupací sezóna je v plném proudu, vše je sluncem zalité, vám ale radost z plavání kazí zjištění, že hladina vody v bazénu neobvykle klesá. A tak dopouštíte a dopouštíte a lámete si hlavu nad příčinou. Uniká snad voda přímo z bazénu? Je prasklé potrubí? Tři jednoduché testy vám to objasní.
8 tipů, jak ušetřit peníze a prodloužit životnost vašeho bazénu
Bazén je jedna z nejúžasnějších věcí, kterou můžete mít doma. Právě bazén vám umožní vytvořit si oázu zábavy i relaxace, kterou můžete sdílet s rodinou a přáteli. Ale co byste řekli tipům, které by celou tu zábavu u bazénu ještě vylepšily? Co takhle ušetřit nějaké peníze?
Jak správně skladovat bazénovou chemii
Za správně fungujícím bazénem stojí bazénová chemie. Likviduje bakterie, zabraňuje tvorbě řas, zkrátka zajišťuje veškeré nároky na hygienu a kvalitu vody ve Vašem bazénu. Víte ale, že existují důležité pokyny pro skladování bazénové chemie? Seznamte se s nimi.